W Machine - Weft Yarn Carriers Qt1 Qt2 Qt3

More types of weft yarn carrier available for the CMS W machines:

Qw yarn carrier

One weft yarn carrier can be used per system.

Qt yarn carrier

Up to three weft yarn carriers can be used per system.

There are three versions of the Qt weft yarn carrier:

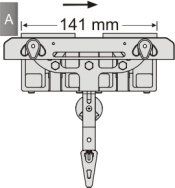
The yarn carrier plunger (A) drives of the yarn carrier carriage at the outside and pushes the yarn carrier ahead.

Advantage:

Working with Qt

One system only (S2) inserts the weft yarn and encloses it by knitting.

The yarn carriers must be on different tracks.

  • The Qt yarn carrier is used on track 3 to track 6.
  • Only one Qt yarn carrier can be used per track.
  • If the Qt2 or Qt3 weft yarn carrier is driven by the S2 or S3 system, then the leading system can only be used to a limited extent.

Notes: