6.9 版本有哪些更新?
该M1plus软件版本: 6.9
M1plus V6.9与机器操作系统EKC1.3兼容
压脚的不同类型
- 压脚选项卡位于花型参数/机器属性对话框里以及机器浏览器里。
- 各机型可用的所有压脚列表显示,可以分配给每个压脚位置。
- 压脚选项卡
- 注意:
新花型的默认设置:分配了2型。
根据列表检查机器设备并相应更正设置。 - 将该类型压脚输入到花型控制列或CA中。
- 工艺处理过程会检查所输入的类型是否在机器属性中存在。
如果不存在,则会出现一个错误提示。 
- 编织带入压脚功能仅在ADF机器上可用。
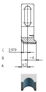
不同几何形状的压脚:
| 类型 1 | 2 型 | |||||||
|---|---|---|---|---|---|---|---|---|---|
系列 | 05/2018之前的所有W-机器
| 05/2018之后的所有W-机器 | |||||||
机号 | 针板间隙 | A | B | C | ID | 长度 | ID | 长度 | 入口三角 |
E18 | 1.25 | 4.5 | -6.0 | 3.0 | 268 381 | 1.1 | 273 761 | 1.1 | A |
E18m.16 | 1.25 | 4.5 | -6.0 | 3.0 | 268 381 | 1.1 | 273 761 | 1.1 | A |
E16 | 1.25 | 4.5 | -6.0 | 3.0 | 268 381 | 1.1 | 273 761 | 1.1 | A |
E8.2 | 1.55 | 4.5 | -6.0 | 3.0 | 269 124 | 1.4 | 275 160 | 1.4 | A |
E14 | 1.76 | 4.5 | -6.0 | 3.0 | 267 946 | 1.6 | 273 760 | 1.6 | A |
E14/12 | 1.76 | 4.5 | -6.0 | 3.0 | 267 946 | 1.6 | 273 760 | 1.6 | A |
E12 | 1.99 | 4.5 | -6.0 | 3.0 | 268 382 | 1.8 | 275 161 | 1.8 | A |
E12m.10 | 1.99 | 4.5 | -6.0 | 3.0 | 268 382 | 1.8 | 275 161 | 1.8 | A |
7.2 MG | 2.22 | 4.5 | -6.0 | 3.0 | 268 384 | 2.0 | 274 790 | 2.1 | A |
6.2MG | 2.30 | 4.5 | -6.0 | 3.0 | 268 384 | 2.0 | 274 790 | 2.1 | A |
E10 | 2.30 | 4.5 | -6.0 | 3.0 | 268 384 | 2.0 | 274 790 | 2.1 | A |
E14 (TT) | 2.30 | 4.5 | -6.0 | 3.0 | 268 384 | 2.0 | 274 790 | 2.1 | A |
E14/12 (TT) | 2.30 | 4.5 | -6.0 | 3.0 | 268 384 | 2.0 | 274 790 | 2.1 | A |
E12m.10 (TT) | 2.30 | 4.5 | -6.0 | 3.0 | 268 384 | 2.0 | 274 790 | 2.1 | A |
7.2 KW (TT) | 3.05 | 4.5 | -6.0 | 3.0 | 268 628 | 2.2 | 274 789 | 2.8 | B |
7.2 KW | 3.15 | 4.5 | -6.0 | 3.0 | 268 628 | 2.2 | 274 789 | 2.8 | B |
用于2型压脚的新入口三角。
- 之前的低NP值的线圈密度将不会达到。
- 已经形成的线圈将会通过修改了的三角曲线得到二次压针。
位置 | 左侧 | 居中 | 右侧 |
数量 | 2 | 4 | 2 |
A | 274 008 | 274 010 | 274 009 |
B为E7.2 KW (TT) + E7.2 KW | 274 011 | 274 013 | 274 012 |
皮带牵拉和普通织物牵拉的牵拉功能
机器发生变化时可以应用所分配的牵拉索引。
- 从一台带有主牵拉和辅助牵拉的机器(WMF)应用到一台带有皮带牵拉的机器(WBF)上

- 从一台带有皮带牵拉的机器(WMF)应用到一台带有主牵拉和辅助牵拉的机器(WBF)上

- /菜单
转换织物牵拉值
- 最后设置的路径将不再普遍存储,但适用于使用中的自己的机器。
- 对话框将不会再出现在EKC操作系统的机器上。
- 级联菜单 ( 我的机器)
- 对话框将不会再出现在EKC操作系统的机器上。
- EKC操作系统的机器不支持订单文件(*.ord)!
订单
反向添纱 CA
采用ikat 添纱时,您也可以通过CA 来确定用于反向添纱的工艺行扩展。
区别:
在添纱颜色中i记号用于 ikat 添纱
示例:
- 用于 ikat 添纱的添纱色1和2
- 用于反向添纱的添纱色3和4

工艺处理后:

新CMS 502机,针板规格50吋
CMS502HP+皮带牵拉或主牵拉
用于皮带牵拉的新浮线和锁定模块
| ||
|
| |
| 浮线和锁定 Y-CR0_B_2Y [0 -- 16] | |
浮线和锁定 Y-CR0_B_2Y [16 -- 16] | ||
浮线和锁定_B_2Y [0 -- 16] | ||
浮线和锁定_B_2Y [0 -- 8] | ||
浮线和锁定_B_2Y [16 -- 16] | ||
浮线和锁定_B_2Y [8 -- 8] | ||
工艺纱#216保护纱_B_2Y用于第二导纱器

新的织可穿集圈加锁定模块
ADF 322x16夹纱位置
| |||
|
| ||
|
| 织可穿集圈加锁定 [16 -- 16] | |
| |||
|
| ||
|
| 织可穿集圈加锁定 2片 [16 -- 16] | |

支持GKS V. 2.3尺寸模型






: 需要对三角座进行改装!
版本
